注册送彩金论坛

索引号
5300000160308/20250001
字号
云民发〔2025〕24号
文章来源
社会事务处
发布日期
2025-03-31

注册送彩金论坛 等九部门关于印发《云南省个人身后“一件事”工作方案》的通知

各州(市)民政局、公安局、司法局、人力资源和社会保障局、住房公积金管理中心、卫生健康委、市场监管局、医疗保障局,各金融监管分局:

现将《云南省个人身后一件事工作方案》印发给你们,请认真抓好落实。

 

 

 

注册送彩金论坛                     云南省公安厅

 

 

 

云南省司法厅             云南省人力资源和社会保障厅

 

 

 

云南省住房和城乡建设厅      云南省卫生健康委员会

 

 

 

云南省市场监督管理局        云南省医疗保障局

 

 

 

 

国家金融监督管理总局云南监管局

2025年3月28日

 

(此件公开发布)

 

 

 

 

 

 


云南省个人身后“一件事”工作方案

 

为贯彻落实《国务院关于进一步优化政务服务提升行政效能推动“高效办成一件事”的指导意见》(国发〔20243号)和《云南省人民政府关于印发〈云南省进一步优化政务服务提升行政效能推动“高效办成一件事”实施方案〉的通知》(云政发〔202415号)、《国务院办公厅关于印发“高效办成一件事”2025年度第一批重点事项清单的通知》(国办函〔20253)、《云南省人民政府办公厅关于印发〈云南省“高效办成一件事”2025年度第一批重点事项清单〉的通知》(云政办函〔20257号)精神,加快推进个人身后“一件事”线上线下“一次申请、一表填写、一套材料、一网流转、联动办理、高效办成”,结合我省实际,制定本方案。

一、工作任务

以习近平新时代中国特色社会主义思想为指导,深入贯彻党中央、国务院关于推进“放管服”改革和殡葬改革工作的决策部署,坚持问题导向、需求导向和效果导向,以优化流程为手段,以创新便民为目的,以技术支撑为依托,充分运用全省政务服务平台,全量、实时、准确归集共享办理信息,实现出具死亡证明、出具火化证明、户口注销、遗属待遇申领、住房公积金提取(死亡)等个人身后事项统一受理、一站式服务。按照“线上线下协同、统一受理”思路,逐步拓展个人身后一件事服务事项。

(一)集成关联事项,统一办事指南。组织有关部门认真梳理逝者家属需要办理的个人身后事项,集成关联事项,按照“一件事”标准要求,重构办理业务流程,优化前后置环节,编制个人身后“一件事”统一办事指南,通过云南政务服务网同源发布、同步更新,做到线上线下无差别受理、同标准办理。

(二)整合申请表单,精简提交材料。梳理原来单事项需要填写的申请表单和需要提交的具体材料清单,明确表单和材料各项细节,整合精简、优化申请表单和申请材料,实现“多表合一、一表申请”、“一套材料、一次提交”利用共享电子证照库和部门数据匹配验证公民基本信息等,实现共享数据自动调用,个性信息自行填报,申请表单自动分发,进一步简化填报程序,免提交重复和非必要材料。

(三)线上“一网通办”,线下“只进一门”。在云南政务服务网“高效办成一件事”专区设置个人身后“一件事”事项全面摸底个人身后“一件事”涉及各事项办理系统所需数据,依托省政务服务平台和省政务数据直达系统,完善个人身后“一件事”主题业务模块(前端系统),推动民政、公安、司法、人社、住房城乡建设(住房公积金)、卫生健康、市场监管、医保、金融监管等部门相关业务系统与省政务数据直达系统互联互通、数据共享,实现申请、受理、审核、结果反馈等全过程一网流转、联动办理。线下在各级政务(便民)服务中心(站)设立个人身后“一件事”窗口,实现统一受理和一站式服务

(四)明确先行试点,强化培训推广。选取火葬区和土葬区各2个试点县(市、区),先行先试,做好线上办理测试和线下办理指导,不断优化流程和环节,深化线上线下融合,推动实现办事方式多元、办事流程最优、办事材料最简、办事成本最小,更好服务逝者家属办理个人身后“一件事”总结试点经验,不断优化业务流程和升级系统功能,适时开展业务和系统培训,全省推广使用。

二、职责分工

(一)省级层面

个人身后“一件事”省级事项联办部门立足职能、主动协同,依托省政务服务平台打造服务联办模式,建立前台综合受理、后台分类审批、综合窗口出件部门协同工作机制。按责任分工全面梳理个人身后“一件事”办事指南、工作流程、申请表单、工作指引等,最大限度减少提交材料、办理环节、流转程序、办理时限,将多部门”“多次办整合为一件事一次办

省民政厅:统筹个人身后“一件事”的整体推进,适时召集相关单位召开专题会议,共同研究解决工作推进中遇到的问题。依托省政务服务平台,完成个人身后“一件事”事项配置,实现办事指南统一发布、办事申请一网提交。完善个人身后“一件事”业务系统,出具火化证明,推动相关单位业务系统互联互通、数据共享,实现出具死亡证明、户口注销、遗属待遇申领、住房公积金提取(死亡)等办事申请一网流转、联动办理。

公安厅:负责全面依托个人身后“一件事”业务系统或模块出具未经医疗卫生机构救治的非正常死亡人员的死亡证明,办理死亡人员户口注销、驾驶证注销。配合规范个人身后“一件事”重点事项的办事指南、工作流程、申请表单、工作指引,完成有关系统对接和数据交换。

司法厅:负责逝者遗嘱公证信息核查配合规范个人身后“一件事”重点事项的办事指南、工作流程、申请表单、工作指引,完成有关系统对接和数据交换。

人力资源社会保障厅:负责参保人员死亡后终止参保关系个人账户一次性待遇申领(基本养老保险)、遗属待遇申领。配合规范个人身后“一件事”重点事项的办事指南、工作流程、申请表单、工作指引,完成有关系统对接和数据交换。

住房和城乡建设厅:负责指导州(市)住房公积金管理部门依法依规办理住房公积金提取(死亡)配合规范个人身后“一件事”重点事项的办事指南、工作流程、申请表单、工作指引指导州(市)住房公积金管理部门配合完成有关系统对接和数据交换。

卫生健康委:负责指导救治或开展正常死亡调查的医疗卫生机构全面依托个人身后“一件事”业务系统或模块出具死亡证明(正常死亡)。配合规范个人身后“一件事”重点事项办事指南、工作流程、申请表单、工作指引

省市场监管局:负责已故人员股权登记信息查询(继承人查询)。配合规范个人身后“一件事”重点事项的办事指南、工作流程、申请表单、工作指引,完成有关系统对接和数据交换。

医保局:负责参保人员基本医疗保险停保、参保人员职工基本医疗保险个人账户余额一次性支取。配合规范个人身后“一件事”重点事项的办事指南、工作流程、申请表单、工作指引,完成有关系统对接和数据交换。

云南金融监管局:负责指导银行开展已故存款人小额存款提取(继承人提取)配合规范个人身后“一件事”重点事项的办事指南、工作流程、申请表单、工作指引

各部门还需负责本部门涉及事项具体业务梳理、流程再造,规范申请材料、优化办理流程、完善审查要点,统一事项名称、依据、实施层级、受理条件等要素,参与办事指南、工作指引编写,并将本部门涉及事项纳入政务服务事项管理系统动态管理,负责本部门具体事项业务系统与全省政务服务平台、省政务数据直达系统对接打通,推动与个人身后“一件事”业务系统数据双向共享、业务协同办理,涉及垂管系统的,要积极协调上级部门,推动垂管系统数据回流,要进行上线系统测试运行,加强对州(市)、县(市、区)业务指导和系统操作培训工作。

(二)州(市)、县(市、区)级层面

1.各级政务(便民)服务中心(站)要设立个人身后“一件事”办事窗口,按照云南政务服务网统一发布的办事指南,提供纸质办事指南,开展咨询、接件、受理、告知、结果送达等办事服务,做到线上线下无差别受理、同标准办理。严格执行首问负责、一次性告知和限时办结、政务服务“好差评”等制度,积极推行导办帮办、远程协办等便民服务措施。

2.加强业务学习和系统操作使用,做到懂政策、会办理,加大宣传推广,扩大知晓度,让逝者家属通过云南政务服务网“高效办成一件事”专区进入办理个人身后“一件事”,不断方便群众和提升办事满意度。

技术保障

(一)完善功能。完善个人身后“一件事”线上主题业务模块,与全省政务服务平台完成统一身份认证、办件赋码、办件结果回传等对接工作,在云南政务服务网、“一部手机办事通”APP(含微信、支付宝小程序)“高效办成一件事”专区上线,实现办事申请“一次提交”,办理结果“多端获取”。

(二)数据共享依托省政务数据直达系统,推动个人身后“一件事”业务办理系统对接打通民政、公安、司法、人社、住房城乡建设(住房公积金)、卫生健康、市场监管、医保、金融监管等部门的相关业务系统,实现数据共享,办事申请、受理、审核、结果反馈等全过程一网流转、联动办理。

实施步骤

(一)20253月底前,制定印发工作方案,规范事项清单,优化材料清单整合申请表单,科学设计流程,编制办事指南。

(二)2025月底前,开展线下办理业务培训,实现线下办理“只进一门”。

(三)20257月底前,完善个人身后“一件事”主题业务模块,接入云南政务服务网高效办成一件事专区,将个人身后“一件事”申请表电子化,进一步优化流程,实现全流程一网通办

(四)20258月底前,部署个人身后“一件事”在选定县(市区)的试点运行,并依据实施结果优化服务事项及业务。

(五)20259月底前,总结试点经验和成果,在全省推广,全面上线“移动端”、微信和支付宝小程序。

五、工作要求

(一)加强组织领导。各相关部门要高度重视,主要负责同志亲自研究部署,分管负责同志具体抓好落实,配合牵头部门组建工作专班,创新改革举措,压实工作责任,精心组织实施。要结合实际,细化完善工作流程,明确任务书、时间表、责任人,共同推动方案落到实处。要加强沟通、协同合作,一体推进数据共享和“减证便民”工作。

(二)强化协同问效。各责任单位严格按照工作要求,对个人身后“一件事”涉及具体事项的业务流程系统支撑等环节加大协作配合力度,采取定期不定期调度和领导干部“走流程”等方式,全面掌握办理情况,及时研判分析堵点难点问题,对各地推进个人身后“一件事”进行全闭环监测,确保取得实效。

(三)强化培训指导。加强对基层办理人员的培训,确保熟练掌握相关业务知识,高效指导协助丧属办理个人身后“一件事”,做好移风易俗的宣传工作。

(四)加强宣传引导各地各部门要高度重视,提高政治站位,切实增强工作使命感和责任感。采取多种形式做好个人身后“一件事”政策解读和舆论引导,拓宽服务渠道,及时对典型经验做法再总结再提炼,引导各地持续探索创新。

 

附件:1.云南省个人身后“一件事”办事指南

2.云南省个人身后“一件事”业务申请表

3.云南省个人身后“一件事”业务流程图


附件1

 

云南省个人身后“一件事”办事指南

 

基本信息

1.事项名称个人身后“一件事”

2.牵头单位:省民政厅

3.配合单位:省公安厅、司法厅、人力资源和社会保障厅、住房和城乡建设厅、卫生健康委、市场监管局、医保局、云南金融监管局

4.涉及事项:

1出具死亡证明(正常死亡)

2出具死亡证明(非正常死亡)

3出具火化证明

4遗嘱公证信息核查

5社会保险待遇暂停

6基本养老保险个人账户一次性待遇申领

7遗属待遇申领

8参保人员基本医疗保险停保

9参保人员职工基本医疗保险个人账户余额一次性支

10住房公积金提取(死亡)

11已故人员股权登记信息查询(继承人查询)

12已故存款人小额存款提取(继承人提取)

13驾驶证注销

14户口注销

5.审批(服务)层级:省、州(市)、县(市、区)、乡镇级

6.服务对象:自然人

7.办理形式:窗口办理网上办理

8.法定办结时限:50个工作日以上

9.承诺审批(办结)时限:7个工作日

10.是否收费:否

11.中介服务事项名称

12.是否需要勘验组织听证专家评审检测:是(死亡调查、死因鉴定、走访调查)

13.审批机关是否委托服务机构开展技术性服务(名称):是(出具死亡证明)

14.是否实行告知承诺办理:否

15.是否实行容缺办理

16.办理时间对应实施层级的咨询方式(由各地综窗填写

17.办理地址

线下窗口办理对应实施层级的咨询方式由各地综窗填写

线上平台办理云南政务服务网

设定和实施依据

(一)出具死亡证明(正常死亡)

《国家卫生计生委 公安部 民政部关于进一步规范人口死亡医学证明和信息登记管理工作的通知》(国卫规划发〔201357号)

(二)出具死亡证明(非正常死亡)

《关于改进和规范公安派出所出具证明工作的意见》(公通字〔201621号)、《中共云南省委社会工作部印发〈省级相关部门和单位规范证明事项工作流程及所需材料清单〉的通知》(云社发202437号)

(三)出具火化证明

《云南省殡葬管理条例》

(四)遗嘱公证信息核查

《中华人民共和国公证法》

(五)社会保险待遇暂停

《中华人民共和国社会保险法》、《社会保险经办条例》、《香港澳门台湾居民在内地(大陆)参加社会保险暂行办法》(中华人民共和国人力资源和社会保障部、国家医疗保障局令第41号)、《在中国境内就业的外国人参加社会保险暂行办法》(中华人民共和国人力资源和社会保障部令第16号)、《关于印发〈外国人在中国永久居留享有相关待遇的办法〉的通知》(人社部发〔201253号)

(六)个人账户一次性待遇申领(基本养老保险)

《中华人民共和国社会保险法》、《国务院关于机关事业单位工作人员养老保险制度改革的决定》国发〔20152

(七)遗属待遇申领

《中华人民共和国社会保险法》、《实施〈中华人民共和国社会保险法〉若干规定》(人力资源社会保障部令第13号)、《人力资源社会保障部 财政部关于印发〈企业职工基本养老保险遗属待遇暂行办法〉的通知》(人社部发〔202118号)、《人力资源社会保障部办公厅关于防范遗属待遇发放风险的通知》(人社厅函〔2024141号)、《人力资源社会保障部关于印发〈机关事业单位工作人员基本养老保险经办规程〉的通知》人社部发〔201532号)

(八)参保人员基本医疗保险停保

《中华人民共和国社会保险法》、《社会保险经办条例》、《香港澳门台湾居民在内地(大陆)参加社会保险暂行办法》(中华人民共和国人力资源和社会保障部、国家医疗保障局令第41号)、《在中国境内就业的外国人参加社会保险暂行办法》(中华人民共和国人力资源和社会保障部令第16号)、《关于印发〈外国人在中国永久居留享有相关待遇的办法〉的通知》(人社部发〔201253号)

(九)参保人员职工基本医疗保险个人账户余额一次性支取

《国务院关于建立城镇职工基本医疗保险制度的决定》(国发〔199844号)、《香港澳门台湾居民在内地(大陆)参加社会保险暂行办法》(中华人民共和国人力资源和社会保障部、国家医保局令第41号)、《在中国境内就业的外国人参加社会保险暂行办法》(中华人民共和国人力资源和社会保障部令第16号)《云南省医疗保障局办公室关于印发云南省医疗保障经办政务服务事项清单和办事指南(2023年版)的通知》(云医保办〔202349号)

(十)住房公积金提取(死亡)

《住房公积金管理条例》、《住房公积金提取业务标准》

(十一)已故人员股权登记信息查询(继承人查询)

《中华人民共和国公司法》

(十二)已故存款人小额存款提取(继承人提取)

《国家金融监督管理总局 中国人民银行关于优化已故存款人小额存款提取有关要求的通知》(金规〔20246号)、《中国银保监会办公厅 中国人民银行办公厅关于简化提取已故存款人小额存款相关事宜的通知》(银保监办发〔202118号)

(十三)驾驶证注销

《机动车驾驶证申领和使用规定》(公安部第172号令)

(十四)户口注销

公安部关于印发户口居民身份证管理工作规范(试行)的通知》(公通字〔202112)、《公安部等部门关于印发关于改进和规范公安派出所出具证明工作的意见的通知》(公通字201621

办理条件

须同时满足以下条件:

1.死亡地点和户籍要求:逝者必须在云南省境内死亡,并且具有云南省户籍。

2.死亡原因:逝者可以是正常死亡或非正常死亡,非正常死亡是指由外部作用导致的死亡,包括火灾、溺水等自然灾难致死,或工伤、医疗事故、交通事故、自杀、他杀、受伤害等人为致死(含无名尸)

3.社会保险办理要求:逝者是参加基本养老保险以及职工基本医疗保险的人员

4.医疗保险办理要求:逝者需是在云南省参加基本医疗保险的人员。

5.住房公积金办理条件:逝者在云南省内缴存的住房公积金账户已封存,且无未结清的住房公积金贷款。逝者继承人或受遗赠人可以申请提取逝者住房公积金账户内的存储余额。

6.继承公证要求:公证机构需对该继承权进行公证,并指定其中一个继承人为代办人。

7.其他要求:申请人需持有事项所需申请材料。包括死亡人员身份证明(身份证或户口簿等)、死者照片、代办人照片、代办人居民身份证、公证机构对该继承权的公证书等。



、申请材料

序号

材料名称

材料类型

材料形式

来源渠道

出具部门

材料必要性

涉及事项

非必要材料涉及情形

备注

1

申请人居民身份证

原件

纸质或电子

政府部门核发

公安机关

必要

所有事项



2

逝者居民身份证、户口簿或其他身份证件

原件或复印件

纸质

政府部门核发

公安机关

必要

所有事项(除驾驶证注销)



3

亲属关系证明(居民户口簿等)

原件

纸质

政府部门核发

公安机关

必要

所有事项(除驾驶证注销、户口注销)


4

人民法院出具的宣告死亡生效判决书

原件

原件

政府部门核发

法院

非必要

所有事项

无死亡证明


5

申请人银行储蓄卡(一类卡)或存折

原件

纸质或电子

申请人自备

-

非必要

住房公积金提取(死亡)、

职工医保个人账户一次性支取

需同步办理住房公积金提取(死亡)、

职工医保个人账户一次性支取时提供


6

继承公证书或判决书

原件

纸质或电子

申请人自备


非必要

住房公积金提取(死亡)

需同步办理住房公积金提取(死亡)时提供


 


附件2

云南省个人身后一件事业务申请表

 

填表说明:

1.自动暂停事项包含:社会保险待遇暂停、参保人员基本医疗保险停保

2.主动申请事项包含:领取死亡证明(正常死亡)、领取死亡证明(非正常死亡)、个人账户一次性待遇申领基本养老保险、遗属待遇申领、参保人员职工基本医疗保险个人账户余额一次性支取、遗嘱公证信息核查、住房公积金提取死亡、已故人员股权登记信息查询继承人查询、已故存款人小额存款提取继承人提取、户口注销驾驶证注销

一、申请人信息

申请人姓名


性别

□男 □女

居民身份证号码



















与逝者关系


联系电话


开户行名称


银行卡号


二、逝者信息

逝者姓名


性别

□男 

居民身份证号码



















其他型的证件


证件号码


民族


户籍所在地


三、主动申请联办业务选择

医疗机构

领取死亡证明(正常死亡

公安机关

领取死亡证明(非正常死亡

民政

领取火化证明

司法

£遗嘱公证信息核查

人社

个人账户一次性待遇申领基本养老保险  遗属待遇申领

发放信息

原养老金发放银行账户  参保人社会保障卡银行账户

 告知事项:国家政策规定参加职工基本养老保险或城乡居民基本养老保险人员,社会保险经办机构通过参保人原养老金发放银行账户或参保人社会保障卡银行账户,一次性支付参保人个人账户余额及遗属待遇,并终止养老保险关系。因特殊情形无法发放至参保人员原养老金银行账户,需要直接发放到遗属银行账户的,请申办人按照属地原则线下窗口咨询办理相关业务。涉及多险种参保或因工死亡参保人员遗属待遇,因涉及待遇标准不一致,须申办人选择待遇确认,请按照属地原则线下窗口咨询办理相关业务。根据社会保险经办规定,参保人个人账户余额及遗属待遇当月申报,征缴、待遇发放业务办理结束后22个工作日完成发放。

医保

参保人员职工基本医疗保险个人账户余额一次性支取

经协商,由申请人办理支取业务,承诺已取得全部继承人授权办理,有关款项汇入申请人名下银行账户,全部继承人分配事宜自行解决,由此产生的法律纠纷由申请人自行负责。

房城乡建设

(公积金中心)

住房公积金提取死亡

市场监管

已故人员股权登记信息查询继承人查询

金融机构

已故存款人小额存款提取(继承人提取)

公安

注销驾驶证(提示选择驾驶证的州市发证机关)

注销户口(提示所有业务办理完成后申请办理)

附件

1.申报人的居民身份证

2.死亡人员的居民户口簿

3.死亡人员的居民身份证

4.死亡证明,以下死亡证明材料之一:

1)医疗机构出具的《死亡医学证明(推断)书》(在国(境)外死亡的,需提交死亡医学证明原件、具有资质机构出具的翻译件以及我国驻外使领馆出具的确认死亡证明文件);

2)公安司法部门出具的非正常死亡证明;

3)人民法院出具的宣告死亡生效判决书;

4)其他能够证明公民死亡的材料

5.居民户口簿或亲属关系证明或继承人与死亡职工关系的有效法律文书

6.继承公证书或判决书

本人已认真阅读以上《告知事项》及相关规定,对办理条件已充分知晓。在此,本人郑重承诺,符合本业务办理条件,填报和提交的所有信息均真实、准确、完整、有效,并授权同意经办机构通过其他部门、机构查询与承诺相关的个人信息,用于核实承诺内容,如有违背,将承担相应法律责任。

                       

 

 

 

                       个人签名:

                       申请日期:


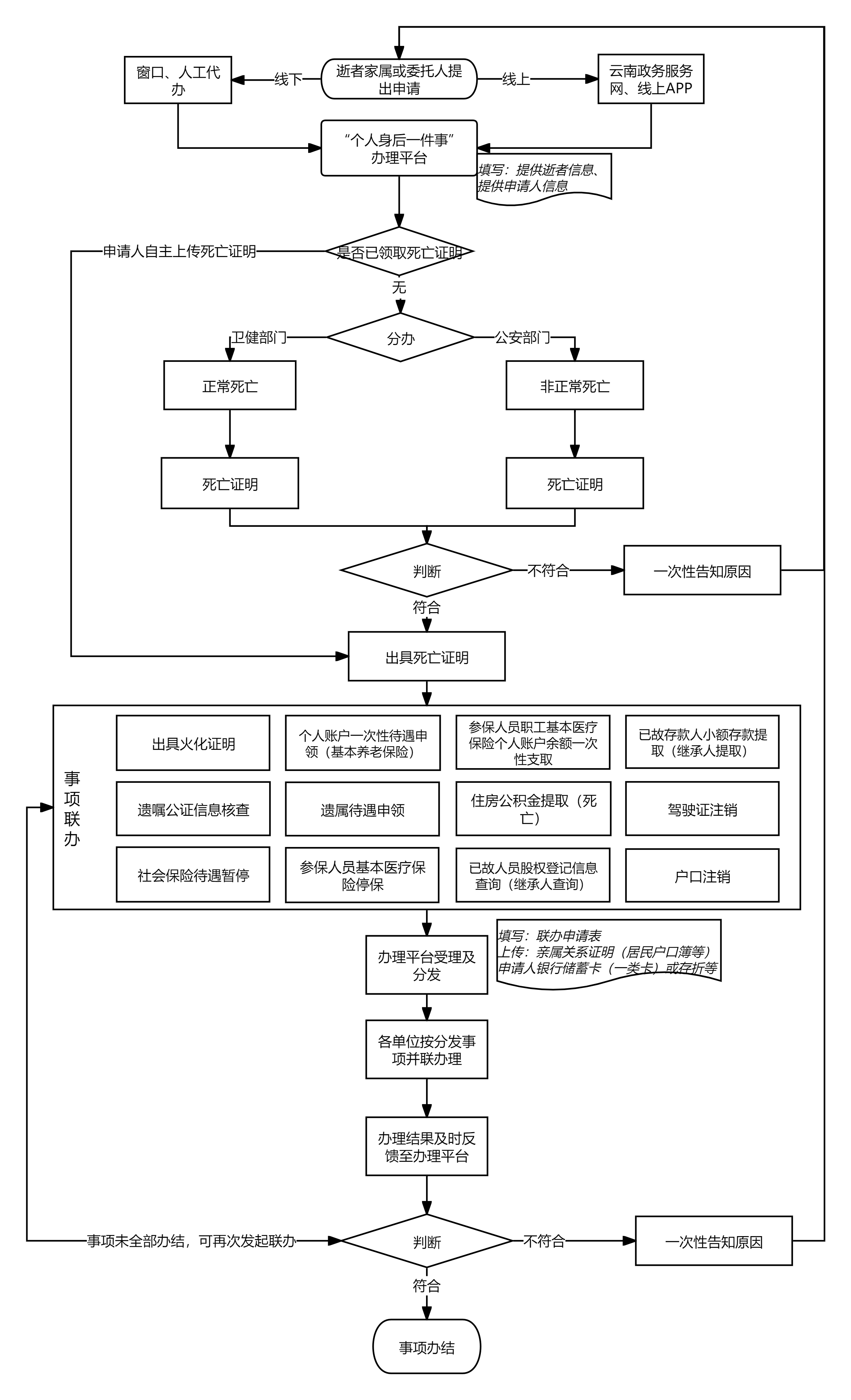
附件3

 

云南省个人身后“一件事”业务流程图

 

 

 

 

 

 

 

 

 

 

 

 

 

 

 

 


相关文档
主办单位:注册送彩金论坛-送彩金平台
地址:昆明市白云路538号注册送彩金论坛   邮编:650224
版权所有:注册送彩金论坛-送彩金平台   网站维护:注册送彩金论坛 信息中心  联系方式:12345
滇ICP备17002128号-2 政府网站标识码:5300000022 滇公网安备 53010302000676号 网站支持IPv6
注册送彩金论坛 注册送彩金论坛